Назад

Оригинальные каталоги

zoom-in zoom-out enlarge shrink circle-right circle-left file-text2 info cart
Номер Наименование Цена
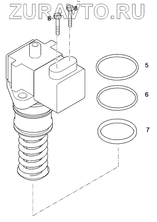
5 10 04 040 2 O-RING 47,00X2,50 Нет в продаже
6 10 04 040 3 O-RING 45,00X2,50 Нет в продаже
7 10 04 040 4 O-RING 40,00X4,00 Нет в продаже
8 10 04 040 5 HEX BOLT M 3X 9,1 Нет в продаже
5
6
7
8
8
100%
Содержащиеся в справочниках-каталогах запасные части и детали носят исключительно информационный характер