Оригинальные каталоги
| № | Номер | Наименование | Цена | |
|---|---|---|---|---|
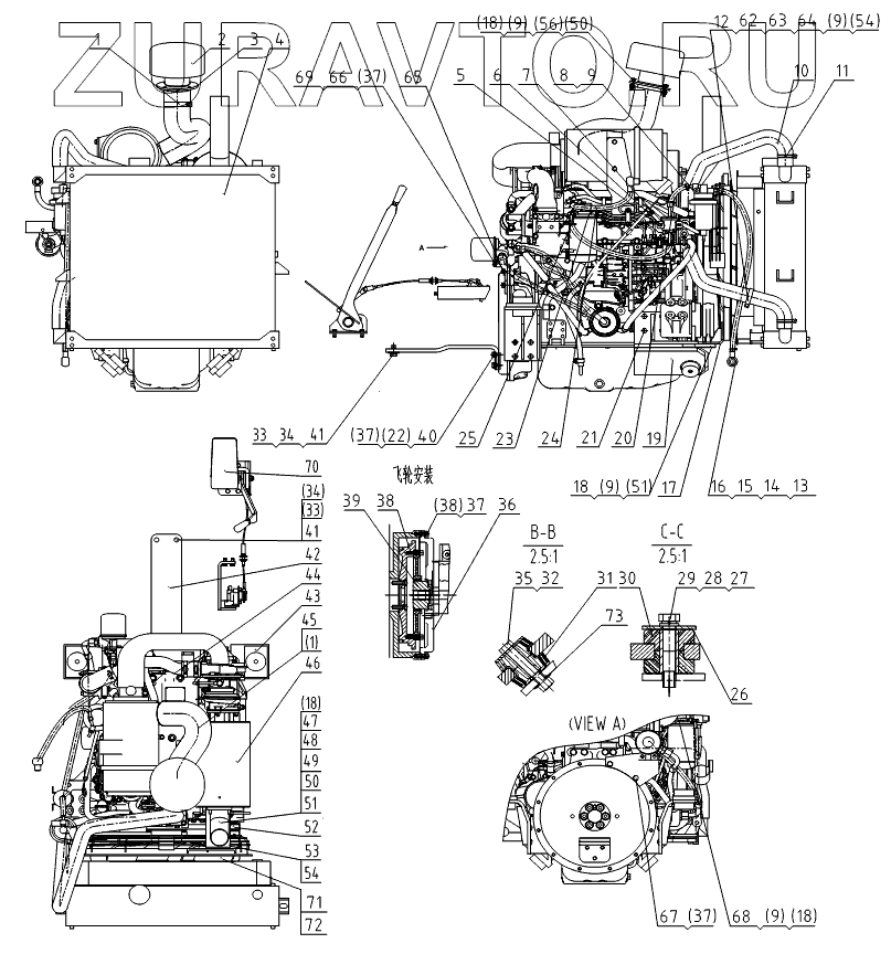
| 1 | 15B0095 | Хомут | Нет в продаже |
|
| 2 | 40C1930 | AIR PRE-FILTER | Нет в продаже |
|
| 3 | 05D0293 | BRACKET | Нет в продаже |
|
| 4 | 20C0415 | COOLING SYSTEM | Нет в продаже |
|
| 5 | 00B0021 | BOLT | Нет в продаже |
|
| 6 | 06B0346 | WASHER | Нет в продаже |
|
| 7 | 06B0062 | WASHER | Нет в продаже |
|
| 8 | 01B0121 | BOLT | Нет в продаже |
|
| 9 | 06B0348 | WASHER | Нет в продаже |
|
| 10 | 83A0623 | HOSE | Нет в продаже |
|
| 11 | 15B0005 | Хомут | Нет в продаже |
|
| 12 | 83A0996 | WATER HOSE | Нет в продаже |
|
| 13 | 05C1014 | SUCTION TUBE | Нет в продаже |
|
| 14 | 03A0251 | JOINT | Нет в продаже |
|
| 15 | 15B0084 | CLAMP | Нет в продаже |
|
| 16 | 06B0117 | Шайба | Нет в продаже |
|
| 17 | 00D6631 | BRACKET-LH | Нет в продаже |
|
| 18 | 00B0102 | BOLT | Нет в продаже |
|
| 19 | 00D4150 | BRACKET-LH | Нет в продаже |
|
| 20 | 05C1015 | FUEL HOSE | Нет в продаже |
|
| 21 | 01B0884 | BOLT | Нет в продаже |
|
| 22 | 06B0001 | WASHER | Нет в продаже |
|
| 23 | 04B0002 | Винт | Нет в продаже |
|
| 24 | 05C1016 | FUEL HOSE | Нет в продаже |
|
| 26 | 11A0735 | WASHER | Нет в продаже |
|
| 27 | 00B0212 | Болт | Нет в продаже |
|
| 28 | 06B0351 | WASHER | Нет в продаже |
|
| 29 | 06B0012 | Шайба | Нет в продаже |
|
| 30 | 17B0104 | SHOCK ABSORBER | Нет в продаже |
|
| 31 | 17B0105 | SHOCK ABSORBER | Нет в продаже |
|
| 32 | 04A1977 | LOCKNUT | Нет в продаже |
|
| 33 | 06B0349 | WASHER | Нет в продаже |
|
| 34 | 06B0059 | Шайба | Нет в продаже |
|
| 35 | 01B0166 | Болт | Нет в продаже |
|
| 36 | 52A0154 | COVER | Нет в продаже |
|
| 37 | 06B0347 | WASHER | Нет в продаже |
|
| 38 | 00B0331 | BOLT | Нет в продаже |
|
| 39 | 40C1409 | COUPLING | Нет в продаже |
|
| 40 | 00B0019 | Болт | Нет в продаже |
|
| 41 | 00B0017 | BOLT | Нет в продаже |
|
| 42 | 29A0851 | BRACKET | Нет в продаже |
|
| 43 | 02D1683 | BRACKET | Нет в продаже |
|
| 44 | 40C0863 | ENGINE | Нет в продаже |
|
| 45 | 84A1185 | INTAKE PIPE | Нет в продаже |
|
| 46 | 00D3396 | BRACKET-RH | Нет в продаже |
|
| 47 | 10D2991 | EXHAUST PIPE | Нет в продаже |
|
| 48 | 00D2655 | BRACKET | Нет в продаже |
|
| 49 | 40C1563 | HEAT SHIELD | Нет в продаже |
|
| 50 | 03B0021 | NUT | Нет в продаже |
|
| 51 | 06B0086 | WASHER | Нет в продаже |
|
| 52 | 00D6632 | BRACKET-RH | Нет в продаже |
|
| 53 | 00D6633 | BRACKET | Нет в продаже |
|
| 54 | 06B0005 | WASHER | Нет в продаже |
|
| 59 | 40C0438 | ELEMENT | Нет в продаже |
|
| 60 | 53C0304 | MAIN FILTER ELEMENT | Нет в продаже |
|
| 62 | 20A7302 | PLATE | Нет в продаже |
|
| 63 | 84A1226 | RUBBER PLATE | Нет в продаже |
|
| 64 | 00B0026 | Болт | Нет в продаже |
|
| 65 | 12A2799 | MOUNTING PLATE | Нет в продаже |
|
| 66 | 00B0004 | Болт | Нет в продаже |
|
| 67 | 00B0002 | Болт | Нет в продаже |
|
| 68 | 23A7501 | MOUNTING PLATE | Нет в продаже |
|
| 69 | 03B0053 | NUT | Нет в продаже |
|
| 70 | 54C0275 | THROTTLE CONTROL SYST | Нет в продаже |
|
| 71 | 50A0478 | BLOCK | Нет в продаже |
|
| 72 | 20C0818 | FAN | Нет в продаже |
|
| 73 | 06B0127 | Шайба | Нет в продаже |
|
1
1
2
3
4
5
6
7
8
9
9
9
9
9
10
11
12
13
14
15
16
17
18
18
18
18
19
20
21
22
23
24
26
27
28
29
30
31
32
33
33
34
34
35
36
37
37
37
37
38
38
39
40
41
41
42
43
44
45
46
47
48
49
50
50
51
51
52
53
54
54
62
63
64
65
66
67
68
69
70
71
72
73
Содержащиеся в справочниках-каталогах запасные части и детали носят исключительно информационный характер