- Каталоги запчастей к технике
- Спецтехника
- LiuGong
- CLG-385A
- 23C0083 001 HANDLE-LH
| № |
Номер |
Наименование |
Цена |
|
|
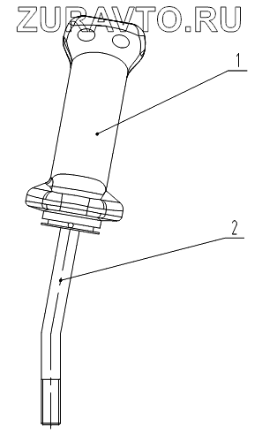
1 |
23C0086
|
HANDLE |
Нет в продаже
|
|
|
2 |
64A0196
|
ROD |
Нет в продаже
|
|
1
2
Содержащиеся в справочниках-каталогах запасные части и детали носят исключительно информационный характер