Оригинальные каталоги
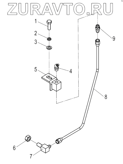
| № | Номер | Наименование | Цена | |
|---|---|---|---|---|
| 1 | 00В0085 | Болт | Нет в продаже |
|
| 2 | 06В0006 | Шайба | Нет в продаже |
|
| 3 | 06В0005 | Шайба | Нет в продаже |
|
| 4 | 10В0051 | Grease fitting | Нет в продаже |
|
| 5 | 00D3299 | Bracket | Нет в продаже |
|
| 6 | 03В0035 | Гайка | Нет в продаже |
|
| 7 | 01А0231 | Connector | Нет в продаже |
|
| 8 | 01С0264 | Piping | Нет в продаже |
|
| 9 | 00А0032 | Connector | Нет в продаже |
|
1
2
3
4
5
6
7
8
9
Содержащиеся в справочниках-каталогах запасные части и детали носят исключительно информационный характер