Оригинальные каталоги
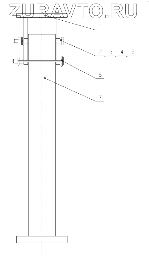
| № | Номер | Наименование | Цена | |
|---|---|---|---|---|
| 1 | 02D4584 | Mounting plate | Нет в продаже |
|
| 2 | 06B0024 | WASHER | Нет в продаже |
|
| 3 | 01B0603 | Bolt | Нет в продаже |
|
| 4 | 06B0003 | Шайба | Нет в продаже |
|
| 5 | 03B0036 | NUT | Нет в продаже |
|
| 6 | 34C2253 | Pin | Нет в продаже |
|
| 7 | 02D4585 | Outrigger | Нет в продаже |
|
1
2
3
4
5
6
7
Содержащиеся в справочниках-каталогах запасные части и детали носят исключительно информационный характер