Оригинальные каталоги
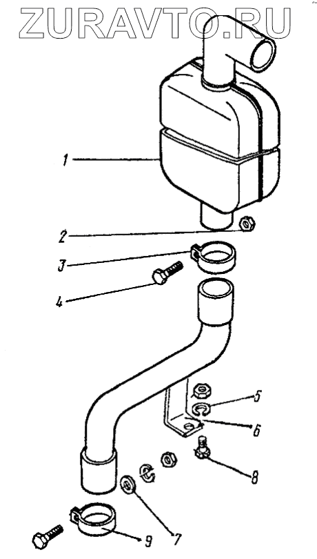
| № | Номер | Наименование | Цена | |
|---|---|---|---|---|
| 1 | 60-1205015-А-01 | Глушитель | Нет в продаже |
|
| 2 | 250512-П29 | Гайка М10 | Нет в продаже |
|
| 3 | А05-027А-1 | Хомут | Нет в продаже |
|
| 4 | 201501-П29 | Болт М10х35 | Нет в продаже |
|
| 5 | 252136-П29 | Шайба 10 | Нет в продаже |
|
| 6 | 40810-1203010 | Труба приемная | Нет в продаже |
|
| 7 | 252039-П29 | Шайба 10 | Нет в продаже |
|
| 8 | 201497-П29 | Болт М10х25 | Нет в продаже |
|
| 9 | 40812-1200050 | Хомут | Нет в продаже |
|
1
2
3
4
5
6
7
8
9
Содержащиеся в справочниках-каталогах запасные части и детали носят исключительно информационный характер