Оригинальные каталоги
| № | Номер | Наименование | Цена | |
|---|---|---|---|---|
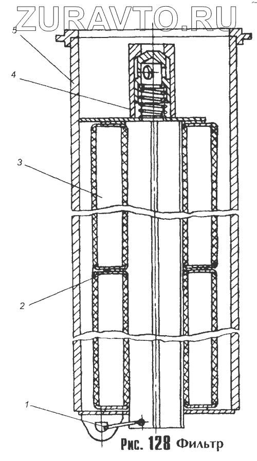
| 1 | 258278 | Шплинт | Нет в продаже |
|
| 2 | 546-3519168 | Грязесъемник | Нет в продаже |
|
| 3 | 635-1-06 | Фильтроэлемент Реготмас | Нет в продаже |
|
| 4 | 7405-3410084 | Направляющая | Нет в продаже |
|
| 5 | 7508-3410082 | Корпус фильтра | Нет в продаже |
|
1
2
3
4
5
Содержащиеся в справочниках-каталогах запасные части и детали носят исключительно информационный характер