Оригинальные каталоги
| № | Номер | Наименование | Цена | |
|---|---|---|---|---|
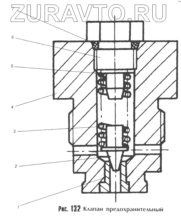
| 1 | 7406-4612036 | Седло клапана | Нет в продаже |
|
| 2 | Д357Г-4612030-01 | Клапан | Нет в продаже |
|
| 3 | Д357Г-4612032-01 | Пружина | Нет в продаже |
|
| 4 | 7406-4612028 | Корпус клапана | Нет в продаже |
|
| 5 | 7406-4612034 | Шайба | Нет в продаже |
|
| 6 | 7406-4612038 | Пробка | Нет в продаже |
|
| 7 | 015-019-25-2-2 | Кольцо ГОСТ 18829-73 | Нет в продаже |
|
1
2
3
4
5
6
7
Содержащиеся в справочниках-каталогах запасные части и детали носят исключительно информационный характер