Оригинальные каталоги
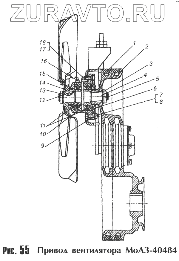
| № | Номер | Наименование | Цена | |
|---|---|---|---|---|
| 1 | 11-21x14-1303-ХЛ | Ремень ГОСТ5813-93 | Нет в продаже |
|
| 2 | 546А-1308214-20 | Шкив ведомый | Нет в продаже |
|
| 3 | 6401-1308155 | Шайба замковая | Нет в продаже |
|
| 4 | 6401-1308226-20 | Вал | Нет в продаже |
|
| 5 | 445812 | Гайка левая | Нет в продаже |
|
| 6 | 6401-1308222-20 | Крынка | Нет в продаже |
|
| 7 | 201456 | Болт | Нет в продаже |
|
| 8 | 252135 | Шайба | Нет в продаже |
|
| 9 | 6401-1308224 | Прокладка | Нет в продаже |
|
| 10 | 6401-1308220-10 | Корпус | Нет в продаже |
|
| 11 | 307 | Шарикоподшипник ГОСТ 520-71 | Нет в продаже |
|
| 12 | 448439 | Шпонка сегментная | Нет в продаже |
|
| 13 | 445811 | Гайка | Нет в продаже |
|
| 14 | 6401-1308230 | Ступица | Нет в продаже |
|
| 15 | 7405-1308232 | Сальник | Нет в продаже |
|
| 16 | 1.3.Ц6 | Масленка | Нет в продаже |
|
| 17 | 252136 | Шайба | Нет в продаже |
|
| 18 | 201497 | Болт | Нет в продаже |
|
1
2
3
4
5
6
7
8
9
10
11
12
13
14
15
16
17
18
Содержащиеся в справочниках-каталогах запасные части и детали носят исключительно информационный характер