Оригинальные каталоги
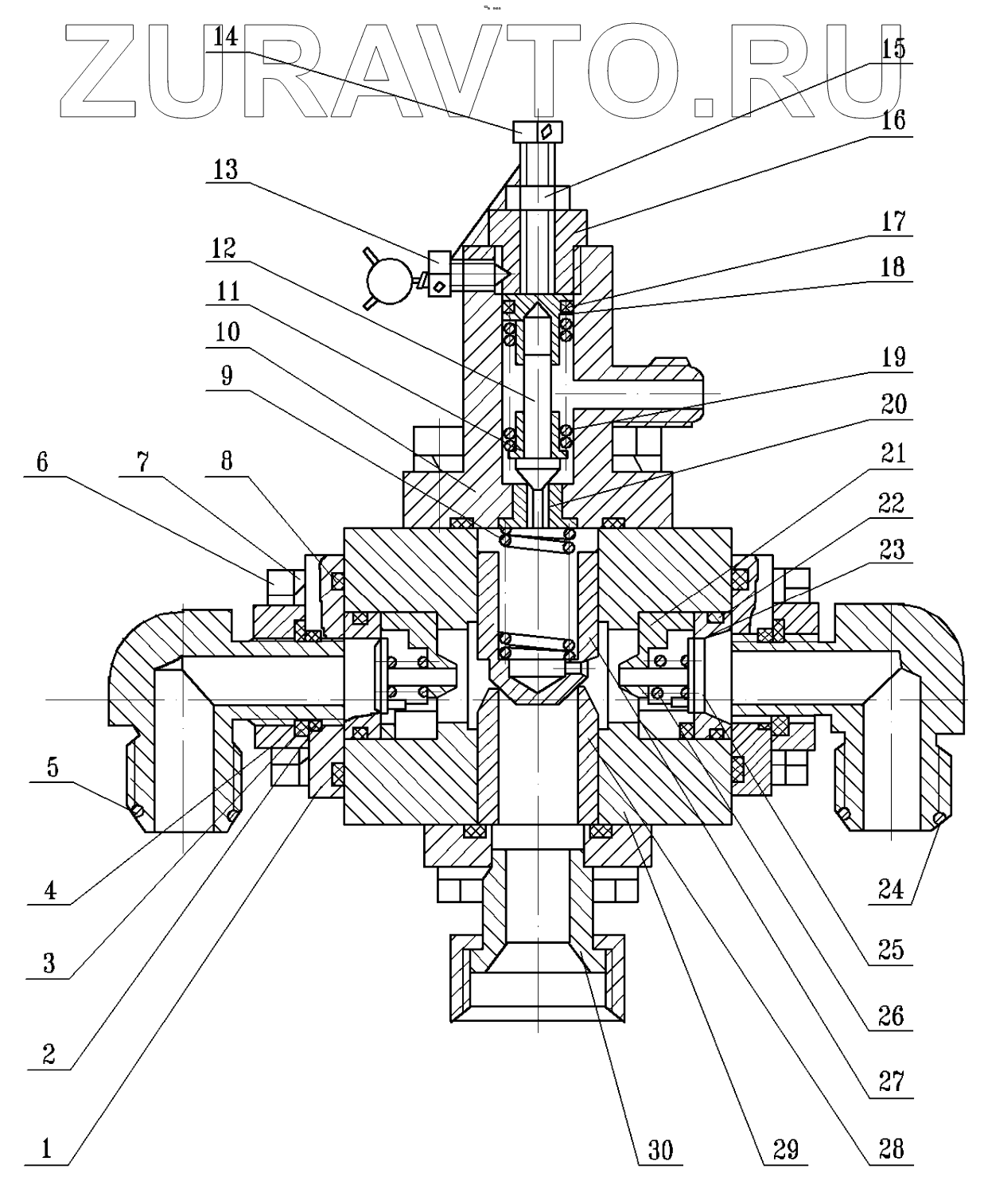
| № | Номер | Наименование | Цена | |
|---|---|---|---|---|
| 1 | 7508-3435070 | Фланец | Нет в продаже |
|
| 2 | 021-025-25-2-2 | Кольцо ГОСТ 18829-73 | Нет в продаже |
|
| 3 | 7505-3405286 | Кольцо защитное | Нет в продаже |
|
| 4 | 7505-3405278 | Гайка стопорная | Нет в продаже |
|
| 5 | 6908-3405270 | Угольник | Нет в продаже |
|
| 6 | 201499 | Болт | Нет в продаже |
|
| 7 | 252136 | Шайба | Нет в продаже |
|
| 8 | 040-045-30-2-2 | Кольцо | Нет в продаже |
|
| 9 | 7406-4612022 | Пружина | Нет в продаже |
|
| 10 | 6908-3406056 | Крышка со штуцером | Нет в продаже |
|
| 11 | 7505-3428064 | Шайба | Нет в продаже |
|
| 12 | 7505-3428062 | Клапан настройки | Нет в продаже |
|
| 13 | 546П-2915408 | Винт стопорный | Нет в продаже |
|
| 14 | 7505-3428098 | Болт регулировочный | Нет в продаже |
|
| 15 | 250510 | Гайка | Нет в продаже |
|
| 16 | 7505-3428070 | Заглушка | Нет в продаже |
|
| 17 | 012-016-25-2-2 | Кольцо | Нет в продаже |
|
| 18 | 7505-3428058 | Поршень | Нет в продаже |
|
| 19 | 7505-3428054 | Пружина клапана | Нет в продаже |
|
| 20 | 7505-3435106 | Седло | Нет в продаже |
|
| 21 | 7406-3435056 | Втулка обратного клапана | Нет в продаже |
|
| 22 | 030-034-25-2-2 | Кольцо ГОСТ 18829-73 | Нет в продаже |
|
| 23 | 7406-3435048 | Седло обратного клапана | Нет в продаже |
|
| 24 | 016-019-19-2-2 | Кольцо ГОСТ 18829-73 | Нет в продаже |
|
| 25 | 7406-3435052 | Клапан обратный | Нет в продаже |
|
| 26 | 7406-3435054 | Пружина | Нет в продаже |
|
| 27 | 7505-3428025-11 | Клапан обратный | Нет в продаже |
|
| 28 | 6908-3406055 | Седло | Нет в продаже |
|
| 29 | 6908-3406053 | Корпус | Нет в продаже |
|
| 30 | 6908-3406070 | Фланец с гайкой | Нет в продаже |
|
1
2
3
4
5
6
7
8
9
10
11
12
13
14
15
16
17
18
19
20
21
22
23
24
25
26
27
28
29
30
Содержащиеся в справочниках-каталогах запасные части и детали носят исключительно информационный характер