Оригинальные каталоги
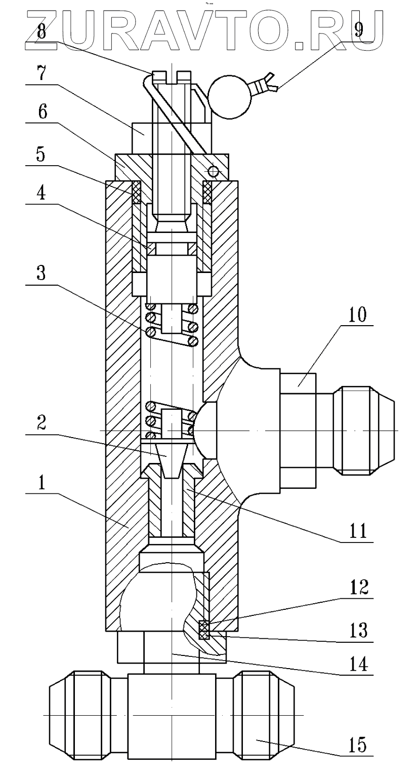
| № | Номер | Наименование | Цена | |
|---|---|---|---|---|
| 1 | 7406-3406015 | Корпус | Нет в продаже |
|
| 2 | Д357Г-4612030-01 | Клапан | Нет в продаже |
|
| 3 | Д357П-4612032-01 | Пружина клапана | Нет в продаже |
|
| 4 | 009-012-19-2-2 | Кольцо | Нет в продаже |
|
| 5 | 015-019-25-2-2 | Кольцо ГОСТ 18829-73 | Нет в продаже |
|
| 6 | 7406-3406020 | Пробка | Нет в продаже |
|
| 7 | 250512 | Гайка | Нет в продаже |
|
| 8 | 7406-3406024 | Винт | Нет в продаже |
|
| 9 | 258224 | Шплинт 08x150 | Нет в продаже |
|
| 10 | 7505-3401052 | Штуцер | Нет в продаже |
|
| 11 | 7405-3435060-10 | Седло пилотного клапана | Нет в продаже |
|
| 12 | 015-019-25-2-2 | Кольцо ГОСТ 18829-73 | Нет в продаже |
|
| 13 | 7406-3435174 | Кольцо защитное | Нет в продаже |
|
| 14 | 7406-3435172 | Гайка стопорная | Нет в продаже |
|
| 15 | 7406-3406056 | Тройник | Нет в продаже |
|
1
2
3
4
5
6
7
8
9
10
11
12
13
14
15
Содержащиеся в справочниках-каталогах запасные части и детали носят исключительно информационный характер