Оригинальные каталоги
| № | Номер | Наименование | Цена | |
|---|---|---|---|---|
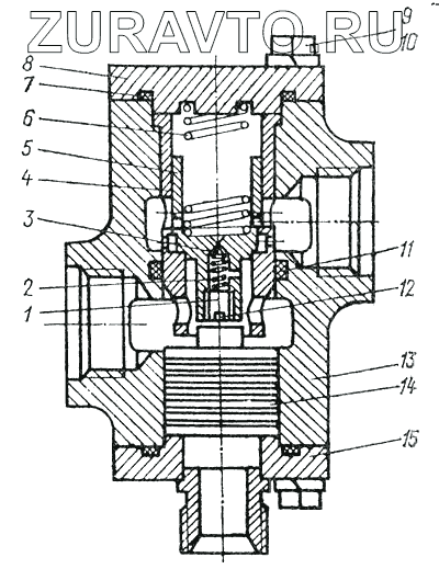
| Д357П-4610210-03 | Д357П-4610210-03 | Гидравлический замок | Нет в продаже |
|
| 1 | Д357П-4610226 | Винт | Нет в продаже |
|
| 2 | Д357П-4610224 | Пружина термоклапана | Нет в продаже |
|
| 3 | Д357П-4610222 | Клапан | Нет в продаже |
|
| 4 | Д357П-4610216-10 | Гильза гидрозамка | Нет в продаже |
|
| 5 | Д357П-4610218-20 | Клапан обратный | Нет в продаже |
|
| 6 | Д357П-4612022-01 | Пружина клапана | Нет в продаже |
|
| 7 | 054-060-36-2-2 | Кольцо | Нет в продаже |
|
| 8 | Д357П-4610232-10 | Крышка верхняя | Нет в продаже |
|
| 9 | 201544 | Болт | Нет в продаже |
|
| 10 | 252137 | Шайба | Нет в продаже |
|
| 11 | Н152х45-2 | Кольцо | Нет в продаже |
|
| 12 | 258015 | Шплинт | Нет в продаже |
|
| 13 | Д357П-4610212-10 | Корпус | Нет в продаже |
|
| 14 | Д357М-4610214 | Плунжер | Нет в продаже |
|
| 15 | Д357П-4610234-10 | Крышка нижняя | Нет в продаже |
|
1
2
3
4
5
6
7
8
9
10
11
12
13
14
15
Содержащиеся в справочниках-каталогах запасные части и детали носят исключительно информационный характер