Оригинальные каталоги
| № | Номер | Наименование | Цена | |
|---|---|---|---|---|
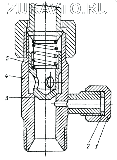
| Д357П-4610100 | Д357П-4610100 | Клапан обратный | Нет в продаже |
|
| 1 | 529-3821015 | Гайка накидная М20х1,5 | Нет в продаже |
|
| 2 | 529-3821012 | Прокладка | Нет в продаже |
|
| 3 | Д357Г-4610106 | Клапан обратный | Нет в продаже |
|
| 4 | Д357М-4610102 | Корпус клапана | Нет в продаже |
|
| 5 | Д357Г-4610018 | Пружина | Нет в продаже |
|
1
2
3
4
5
Содержащиеся в справочниках-каталогах запасные части и детали носят исключительно информационный характер