Оригинальные каталоги
| № | Номер | Наименование | Цена | |
|---|---|---|---|---|
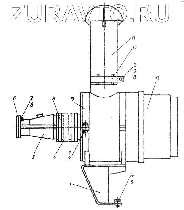
| 6442-1100010 | 6442-1100010 | Система очистки воздуха | Нет в продаже |
|
| 740-1109560-02 | 740-1109560-02 | Элемент фильтрующий | Нет в продаже |
|
| 1 | 6442-1109509 | Кронштейн фильтра | Нет в продаже |
|
| 2 | 201499 | Болт | Нет в продаже |
|
| 3 | 250512 | Гайка | Нет в продаже |
|
| 4 | 5337-1109344 | Уплотнитель | Нет в продаже |
|
| 5 | 6442-1109520 | Патрубок впускной | Нет в продаже |
|
| 6 | 546П-1109060-10 | Прокладка | Нет в продаже |
|
| 7 | 445877 | Гайка | Нет в продаже |
|
| 8 | 252136 | Шайба | Нет в продаже |
|
| 9 | 6422-1109464 | Хомут | Нет в продаже |
|
| 10 | 6442-1109117 | Хомут | Нет в продаже |
|
| 11 | 6442-1109380 | Воздухозаборник | Нет в продаже |
|
| 12 | 522А-1109082 | Хомут | Нет в продаже |
|
| 13 | 740-1109510-03 | Фильтр воздушный | Нет в продаже |
|
| 14 | 201495 | Болт | Нет в продаже |
|
1
2
2
3
3
4
5
6
7
8
8
8
9
10
11
12
13
14
Содержащиеся в справочниках-каталогах запасные части и детали носят исключительно информационный характер