Оригинальные каталоги
| № | Номер | Наименование | Цена | |
|---|---|---|---|---|
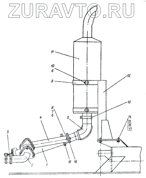
| 6442-1200001 | 6442-1200001 | Система выпуска газа | Нет в продаже |
|
| 1 | 546П-1203028 | Рукав | Нет в продаже |
|
| 2 | 546П-1203011 | Патрубок | Нет в продаже |
|
| 3 | 546-1203010 | Труба | Нет в продаже |
|
| 4 | 546П-1203081 | Труба | Нет в продаже |
|
| 5 | 6442-1201070 | Колено глушителя | Нет в продаже |
|
| 6 | 201501 | Болт | Нет в продаже |
|
| 7 | 250536 | Гайка | Нет в продаже |
|
| 8 | 252136 | Шайба | Нет в продаже |
|
| 9 | 64423-1203074 | Половина хомута | Нет в продаже |
|
| 10 | 250512 | Гайка | Нет в продаже |
|
| 11 | 64423-1201010 | Глушитель в сборе | Нет в продаже |
|
| 12 | 6442-1203060 | Кронштейн глушителя | Нет в продаже |
|
| 13 | 64423-1203072 | Хомут | Нет в продаже |
|
| 14 | 201542 | Болт | Нет в продаже |
|
| 15 | 250514 | Гайка | Нет в продаже |
|
| 16 | 252157 | Шайба | Нет в продаже |
|
| 17 | 252007 | Шайба | Нет в продаже |
|
| 18 | 546П-1203020 | Прокладка | Нет в продаже |
|
| 19 | 546П-1203027 | Прокладка | Нет в продаже |
|
1
2
3
4
5
6
6
7
8
9
10
11
12
13
14
15
16
17
18
19
Содержащиеся в справочниках-каталогах запасные части и детали носят исключительно информационный характер