Оригинальные каталоги
| № | Номер | Наименование | Цена | |
|---|---|---|---|---|
| 546П-2405018 | 546П-2405018 | Водило | Нет в продаже |
|
| 546П-2405018 | 546П-2405018 | Водило | Нет в продаже |
|
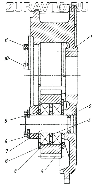
| 1 | 546П-2405021 | Водило | Нет в продаже |
|
| 2 | Кольцо | Кольцо | Нет в продаже |
|
| 3 | 529В-2405036 | Кольцо | Нет в продаже |
|
| 4 | 529В-2405035 | Сателлит | Нет в продаже |
|
| 5 | 529-2405025 | Шайба | Нет в продаже |
|
| 6 | 529В-2405037 | Шайба | Нет в продаже |
|
| 7 | 546П-2405038 | Ось сателлита | Нет в продаже |
|
| 8 | 546П-2405046 | Пластина стопорная | Нет в продаже |
|
| 9 | Подшипник | Подшипник | Нет в продаже |
|
| 10 | 445298 | Болт | Нет в продаже |
|
| 11 | 258282 | Шплинт | Нет в продаже |
|
1
2
3
4
5
6
7
8
9
10
11
Содержащиеся в справочниках-каталогах запасные части и детали носят исключительно информационный характер