Оригинальные каталоги
| № | Номер | Наименование | Цена | |
|---|---|---|---|---|
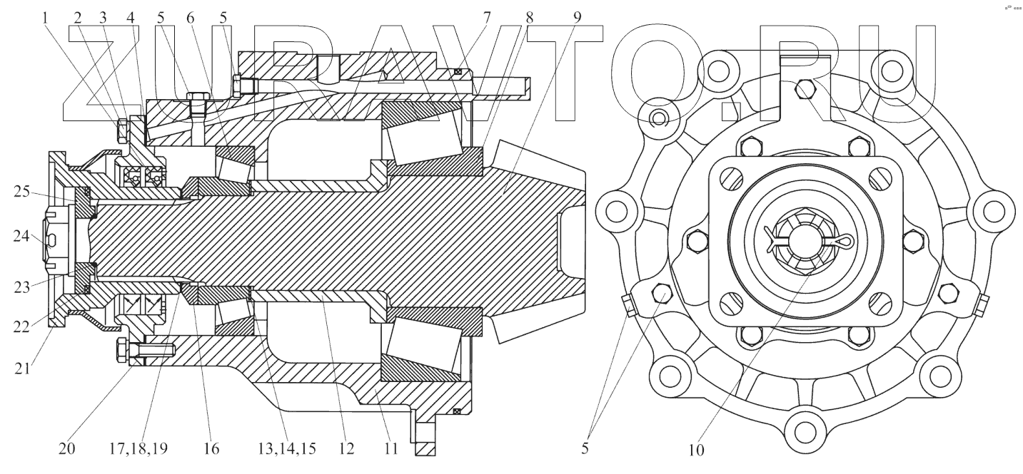
| 2103-2400070-Б | 2103-2400070-Б | Шестерня ведущая | Нет в продаже |
|
| 1 | Манжета2.2-65x90-1 | Манжета 2.2-65x90-1 | Нет в продаже |
|
| 2 | БолтM8-6gx25.88.35.019 | Болт | Нет в продаже |
|
| 3 | 4598166046 | Шайба 8Т | Нет в продаже |
|
| 4 | 2103-2400071-Б | Шайба | Нет в продаже |
|
| 5 | 80-1712063 | Пробка | Нет в продаже |
|
| 6 | 6У-27711А1К | Подшипник | Нет в продаже |
|
| 7 | Кольцо200-210-46-2-2 | Кольцо 200-210-46-2-2 | Нет в продаже |
|
| 8 | 7616 | Подшипник | Нет в продаже |
|
| 9 | 2103-2400072-Б | Шестерня- ведущая | Нет в продаже |
|
| 10 | Шплинт4x32.019 | Шплинт 4x32.019 | Нет в продаже |
|
| 11 | 2103-2400079-Б | Корпус | Нет в продаже |
|
| 12 | 2103-2400076-Б | Втулка | Нет в продаже |
|
| 13 | 2103-2400078-Б | Шайба | Нет в продаже |
|
| 14 | 2103-2400078-Б-01 | Шайба | Нет в продаже |
|
| 15 | 2103-2400078-Б-02 | Шайба | Нет в продаже |
|
| 16 | 2103-2400074 | Втулка | Нет в продаже |
|
| 17 | 2103-2400071-Б | Шайба | Нет в продаже |
|
| 18 | 2103-2400071-Б-01 | Шайба | Нет в продаже |
|
| 19 | 2103-2400071-Б-02 | Шайба | Нет в продаже |
|
| 20 | 2103-2400073-Б | Крышка | Нет в продаже |
|
| 21 | 2103-2400075 | Фланец | Нет в продаже |
|
| 22 | Кольцо059-065-36-2-2 | Кольцо 059-065-36-2-2 | Нет в продаже |
|
| 23 | Кольцо025-030-30-1-4 | Кольцо 025-030-30-1-4 | Нет в продаже |
|
| 24 | 102-3405113 | Гайка | Нет в продаже |
|
| 25 | 2103-2400082-Б | Шайба | Нет в продаже |
|
1
2
3
4
5
5
5
6
7
8
9
10
11
12
13
14
15
16
17
18
19
20
21
22
23
24
25
Содержащиеся в справочниках-каталогах запасные части и детали носят исключительно информационный характер