Оригинальные каталоги
| № | Номер | Наименование | Цена | |
|---|---|---|---|---|
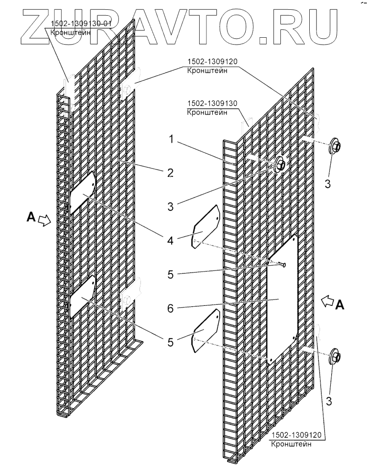
| 1502-1309110 | 1502-1309110 | Ограждение вентилятора | Нет в продаже |
|
| 1 | 1502-1309111 | Сетка | Нет в продаже |
|
| 2 | 1502-1309111-01 | Сетка | Нет в продаже |
|
| 3 | 1502-1309115 | Гайка | Нет в продаже |
|
| 4 | 1502-1309113 | Шайба | Нет в продаже |
|
| 5 | Заклепка3,2х10 | Заклепка | Нет в продаже |
|
1
2
3
3
3
4
5
5
Содержащиеся в справочниках-каталогах запасные части и детали носят исключительно информационный характер