Оригинальные каталоги
| № | Номер | Наименование | Цена | |
|---|---|---|---|---|
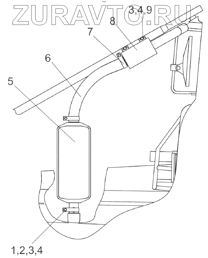
| Л82-1205010-А | Л82-1205010-А | Система выпуска | Нет в продаже |
|
| 1 | Болт М10-6gx35.88.35.019 | Болт | Нет в продаже |
|
| 2 | Гайка М10-6Н.6.019 | Гайка М10-6Н.6.019 | Нет в продаже |
|
| 3 | Шайба С10.01.019 | Шайба | Нет в продаже |
|
| 4 | Шайба 10 ОТ | Шайба | Нет в продаже |
|
| 5 | Л82.2-1205015-А | Глушитель | Нет в продаже |
|
| 6 | 000.4859.21.000-65-250 | Металлорукав | Нет в продаже |
|
| 7 | Л82-1205011 | Хомут | Нет в продаже |
|
| 8 | Л82-1205020 | Искрогаситель | Нет в продаже |
|
| 9 | Болт М10-6gx20.88.35.019 | Болт | Нет в продаже |
|
1
2
3
3
4
4
5
6
7
8
9
Содержащиеся в справочниках-каталогах запасные части и детали носят исключительно информационный характер