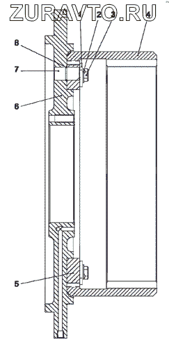
Оригинальные каталоги
| № | Номер | Наименование | Цена | |
|---|---|---|---|---|
| МЛ131-2402160 | МЛ131-2402160 | Опора | Нет в продаже |
|
| 1 | МЛ131-2402143 | Планка | Нет в продаже |
|
| 2 | МЛ131-2402144 | Планка стопорная | Нет в продаже |
|
| 3 | МЛ131-2402141 | Болт | Нет в продаже |
|
| 4 | МЛ131-2402147 | Шестерня эпициклическая | Нет в продаже |
|
| 5 | МЛ131-2402146 | Диск зубчатый | Нет в продаже |
|
| 6 | МЛ131-2402161 | Опора | Нет в продаже |
|
| 7 | МЛ131-2402162 | Штифт | Нет в продаже |
|
| 8 | 54.38.619 | Кольцо | Нет в продаже |
|
МЛ131-2402160
1
2
3
4
5
6
7
8
Содержащиеся в справочниках-каталогах запасные части и детали носят исключительно информационный характер