Оригинальные каталоги
| № | Номер | Наименование | Цена | |
|---|---|---|---|---|
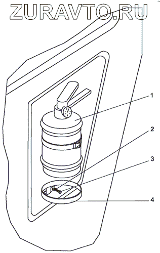
| МЛ131-3910010-Б | МЛ131-3910010-Б | Установка огнетушителя | Нет в продаже |
|
| 1 | ОП-3(з)«Миг» | Огнетушитель порошковый | Нет в продаже |
|
| 2 | 4598166045 | Шайба 6Т | Нет в продаже |
|
| 3 | M6-6gx14.88.35.019 | Болт | Нет в продаже |
|
| 4 | Ш353М-3910025 | Кронштейн | Нет в продаже |
|
МЛ131-3910010-Б
1
2
3
4
Содержащиеся в справочниках-каталогах запасные части и детали носят исключительно информационный характер