Оригинальные каталоги
| № | Номер | Наименование | Цена | |
|---|---|---|---|---|
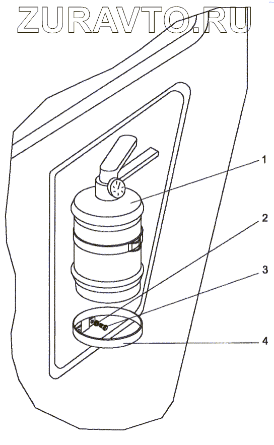
| Л82.2-3910010 | Л82.2-3910010 | Огнетушитель | Нет в продаже |
|
| 1 | ОП-3 | Огнетушитель порошковый ОП-3 (з) «Миг» | Нет в продаже |
|
| 2 | 4598166045 | Шайба 6Т | Нет в продаже |
|
| 3 | М6-6gх14.88.35.019 | Болт ГОСТ 7798-70 | Нет в продаже |
|
| 4 | Ш353М-3910025 | Кронштейн | Нет в продаже |
|
Л82.2-3910010
1
2
3
4
Содержащиеся в справочниках-каталогах запасные части и детали носят исключительно информационный характер