Оригинальные каталоги
| № | Номер | Наименование | Цена | |
|---|---|---|---|---|
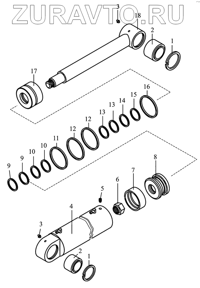
| ГМ42-4511000-01 | ГМ42-4511000-01 | Гидроцилиндр | Нет в продаже |
|
| 1 | С75 | Кольцо | Нет в продаже |
|
| 2 | ШС50К | Подшипник | Нет в продаже |
|
| 3 | 1.2.Ц6 | Масленка | Нет в продаже |
|
| 4 | ГМ42-4512100-03 | Цилиндр | Нет в продаже |
|
| 5 | М8-6gх12.14Н | Винт | Нет в продаже |
|
| 6 | УГЦ80.070.000.002 | Гайка | Нет в продаже |
|
| 7 | DВМ 393295 | Уплотнение поршневое | Нет в продаже |
|
| 8 | ГМ42-4511002-01 | Поршень | Нет в продаже |
|
| 9 | УК3.1-04 | Кольцо защитное | Нет в продаже |
|
| 10 | 036-041-30 | Кольцо | Нет в продаже |
|
| 11 | УК3.1-19 | Кольцо защитное | Нет в продаже |
|
| 12 | 090-100-58 | Кольцо | Нет в продаже |
|
| 13 | I/DWR50 | Кольцо опорное | Нет в продаже |
|
| 14 | EU 5065 | Манжета | Нет в продаже |
|
| 15 | WRM 196228/Р | Грязесъемник | Нет в продаже |
|
| 16 | УГЦ100.000.006 | Кольцо | Нет в продаже |
|
| 17 | ГМ42-4511001-01 | Букса | Нет в продаже |
|
| 18 | ГМ42-4512200-03 | Шток | Нет в продаже |
|
ГМ42-4511000-01
1
1
2
2
3
3
4
5
6
7
8
9
9
10
10
11
12
12
13
13
14
15
16
17
18
Содержащиеся в справочниках-каталогах запасные части и детали носят исключительно информационный характер