Назад

Оригинальные каталоги

zoom-in zoom-out enlarge shrink circle-right circle-left file-text2 info cart
Номер Наименование Цена
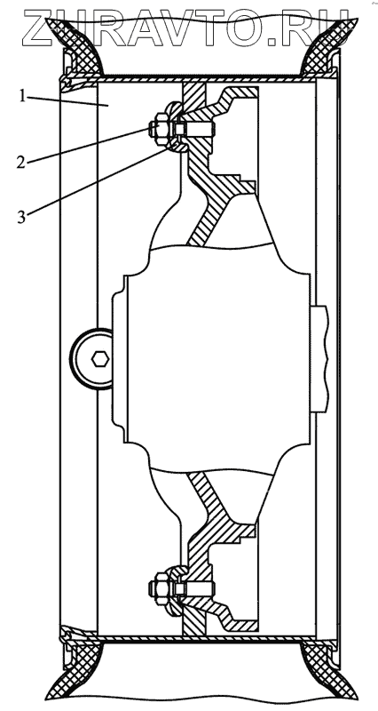
ПМ10-3101010 ПМ10-3101010 Установка колеса Нет в продаже
1 ПМ10-3101015 Колесо Нет в продаже
2 Н.129.00.619 Гайка Нет в продаже
3 105.081.01.011 Прижим Нет в продаже
ПМ10-3101010
1
2
3
100%
Содержащиеся в справочниках-каталогах запасные части и детали носят исключительно информационный характер