Оригинальные каталоги
| № | Номер | Наименование | Цена | |
|---|---|---|---|---|
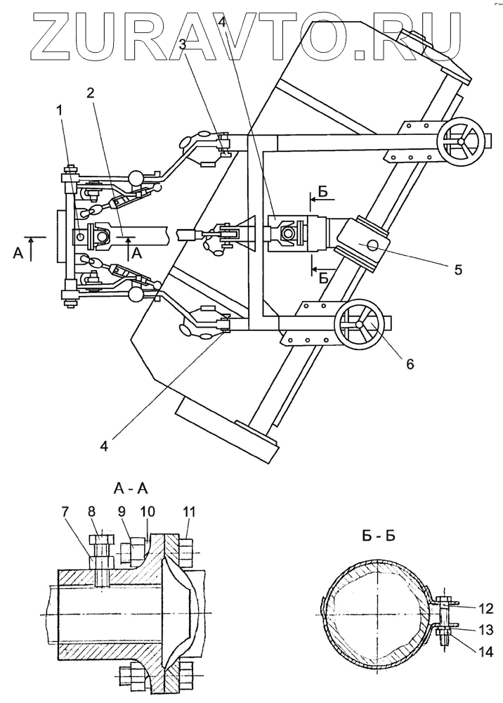
| Щ15-4714005-Б | Щ15-4714005-Б | Оборудование щеточное | Нет в продаже |
|
| 1 | Щ15-4714015-01 | Фланец | Нет в продаже |
|
| 2 | 352-2102010-Б3 | Вал карданный | Нет в продаже |
|
| 3 | 82.6-4714007 | Палец | Нет в продаже |
|
| 4 | 82.6-4714090 | Ограждение | Нет в продаже |
|
| 5 | Щ15-4714010-Б | Щетка с приводом | Нет в продаже |
|
| 6 | Щ15-4714120-Б | Каток опорный | Нет в продаже |
|
| 7 | М10-6Н.6.019 | Гайка | Нет в продаже |
|
| 8 | M10-6gx25.88.35.019 | Болт | Нет в продаже |
|
| 9 | М12-6Н.6.019 | Гайка | Нет в продаже |
|
| 10 | 4598166048 | Шайба 12 ОТ | Нет в продаже |
|
| 11 | M12-6gx35.88.35.019 | Болт | Нет в продаже |
|
| 12 | M8-6gx50.88.35.019 | Болт | Нет в продаже |
|
| 13 | 4598166046 | Шайба 8Т | Нет в продаже |
|
| 14 | М8-6Н.6.019 | Гайка | Нет в продаже |
|
Щ15-4714005-Б
1
2
3
4
4
5
6
7
8
9
10
11
12
13
14
Содержащиеся в справочниках-каталогах запасные части и детали носят исключительно информационный характер