Оригинальные каталоги
| № | Номер | Наименование | Цена | |
|---|---|---|---|---|
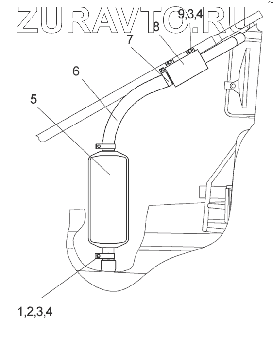
| 1 | М10-6gx35.88.35.0189 | Болт М10-6gx35.88.35.0189 | Нет в продаже |
|
| 2 | М10-6Н.6.019 | Гайка | Нет в продаже |
|
| 3 | С10.01.08кп.019 | Шайба | Нет в продаже |
|
| 4 | 4598166067 | Шайба 10ОТ | Нет в продаже |
|
| 5 | Л82-1205015 | Глушитель | Нет в продаже |
|
| 6 | Л82-1205012 | Рукав | Нет в продаже |
|
| 7 | Л82-1205011 | Хомут | Нет в продаже |
|
| 8 | Л82-1205020 | Искрогаситель | Нет в продаже |
|
| 9 | М10-6gx20.88.35.0189 | Болт М10-6gx20.88.35.0189 | Нет в продаже |
|
1
2
3
3
4
4
5
6
7
8
9
Содержащиеся в справочниках-каталогах запасные части и детали носят исключительно информационный характер