Оригинальные каталоги
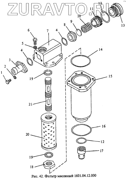
| № | Номер | Наименование | Цена | |
|---|---|---|---|---|
| 1 | Винт 6-14-Ц {ОСТ 1.31501-80} | Винт 6-14-Ц {ОСТ 1.31501-80} | Нет в продаже |
|
| 2 | Шайба 6 65Г 06 {ГОСТ 6402-70} | Шайба 6 65Г 06 {ГОСТ 6402-70} | Нет в продаже |
|
| 3 | 1601.04.12.001 | Штуцер | Нет в продаже |
|
| 4 | Кольцо 024-028-25-2-2 {ГОСТ 18829-73} | Кольцо 024-028-25-2-2 {ГОСТ 18829-73} | Нет в продаже |
|
| 5 | Шайба 8 65Г 06 {ГОСТ 6402-70} | Шайба 8 65Г 06 {ГОСТ 6402-70} | Нет в продаже |
|
| 6 | Винт 8-18-Кд {ОСТ 1.31501-80} | Винт 8-18-Кд {ОСТ 1.31501-80} | Нет в продаже |
|
| 7 | 1601.04.12.006 | Крышка | Нет в продаже |
|
| 8 | 1601.04.12.002 | Седло | Нет в продаже |
|
| 9 | 1601.04.12.003 | Клапан | Нет в продаже |
|
| 10 | 1601.04.12.005 | Пружина | Нет в продаже |
|
| 11 | 1601.04.12.004 | Втулка | Нет в продаже |
|
| 12 | Кольцо 030-035-30-2-2 {ГОСТ 18829-73} | Кольцо 030-035-30-2-2 {ГОСТ 18829-73} | Нет в продаже |
|
| 13 | 1601.04.12.007 | Заглушка | Нет в продаже |
|
| 14 | Кольцо 085-090-30-2-2 {ГОСТ 18829-73} | Кольцо 085-090-30-2-2 {ГОСТ 18829-73} | Нет в продаже |
|
| 15 | 1601.04.12.020 | Корпус | Нет в продаже |
|
| 16 | Кольцо 080-085-30-2-2 {ГОСТ 18829-73} | Кольцо 080-085-30-2-2 {ГОСТ 18829-73} | Нет в продаже |
|
| 17 | 1601.04.12.011 | Гайка | Нет в продаже |
|
| 18 | 1601.04.12.009 | Гайка | Нет в продаже |
|
| 19 | 1601.04.09.014 | Прокладка | Нет в продаже |
|
| 20 | Элемент фильтрующий "Реготмас" 601-1-06УХЛ2 {ТУ 3689-003-26361511-94} | Элемент фильтрующий "Реготмас" 601-1-06УХЛ2 {ТУ 3689-003-26361511-94} | Нет в продаже |
|
| 21 | 1601.04.12.008 | Труба | Нет в продаже |
|
2
3
4
4
5
6
7
8
9
10
11
12
12
13
14
15
16
17
18
19
19
20
21
Содержащиеся в справочниках-каталогах запасные части и детали носят исключительно информационный характер