Оригинальные каталоги
| № | Номер | Наименование | Цена | |
|---|---|---|---|---|
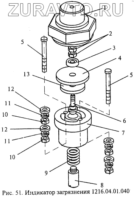
| 1 | 1216.04.01.041 | Корпус | Нет в продаже |
|
| 2 | Гайка М4-Кд {ОСТ 1.33033-80} | Гайка М4-Кд {ОСТ 1.33033-80} | Нет в продаже |
|
| 3 | 1216.04.01.048 | Шайба | Нет в продаже |
|
| 4 | 1216.04.01.047 | Диафрагма | Нет в продаже |
|
| 5 | 1216.04.01.045 | Контакт | Нет в продаже |
|
| 6 | 1216.04.01.152 | Ось | Нет в продаже |
|
| 7 | 1216.04.01.042 | Корпус | Нет в продаже |
|
| 8 | 1216.04.01.144 | Винт регулировочный | Нет в продаже |
|
| 9 | 1216.04.01.043 | Пружина | Нет в продаже |
|
| 10 | Гайка М4-6Н.5.06 {ГОСТ 5916-70} | Гайка М4-6Н.5.06 {ГОСТ 5916-70} | Нет в продаже |
|
| 11 | Шайба 4 65Г 06 {ГОСТ 6402-70} | Шайба 4 65Г 06 {ГОСТ 6402-70} | Нет в продаже |
|
| 12 | Шайба 4.01.08кп.06 {ГОСТ 11371-78} | Шайба 4.01.08кп.06 {ГОСТ 11371-78} | Нет в продаже |
|
| 13 | 1216.04.01.048 | Шайба | Нет в продаже |
|
1
2
3
4
5
5
6
7
8
9
10
10
11
11
12
12
13
Содержащиеся в справочниках-каталогах запасные части и детали носят исключительно информационный характер