Оригинальные каталоги
| № | Номер | Наименование | Цена | |
|---|---|---|---|---|
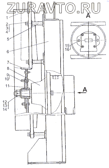
| 1 | 8021-1308044 | Обечайка | Нет в продаже |
|
| 2 | 370848 | Болт М8-6gх75 | Нет в продаже |
|
| 3 | 252038 | Шайба 8 | Нет в продаже |
|
| 4 | 252155 | Шайба 8Л | Нет в продаже |
|
| 5 | 74295-1174029 | Втулка | Нет в продаже |
|
| 6 | 8021-1308014 | Корпус вентилятора | Нет в продаже |
|
| 7 | 0001-1308012 | Пропеллер 712/12-12/30/РАG/52L | Нет в продаже |
|
| 8 | 0001-1308014 | Гидромотор М5ВF 036 1N04А5Z3 | Нет в продаже |
|
| 9 | 201418 | Болт М6-6gх16 | Нет в продаже |
|
| 10 | 407807-01 | Гайка М6-6Н | Нет в продаже |
|
| 11 | 8021-1308029 | Диск | Нет в продаже |
|
| 12 | 250871 | Гайка М16х1,5-5Н6Н | Нет в продаже |
|
| 13 | 535А-1512111 | Шайба | Нет в продаже |
|
| 14 | 258054 | Шплинт 4х32 | Нет в продаже |
|
| 15 | 201585 | Болт М14-6hх30 | Нет в продаже |
|
| 16 | 252158 | Шайба 14Л | Нет в продаже |
|
1
2
3
4
5
6
7
8
9
10
11
12
13
14
15
16
Содержащиеся в справочниках-каталогах запасные части и детали носят исключительно информационный характер