Оригинальные каталоги
| № | Номер | Наименование | Цена | |
|---|---|---|---|---|
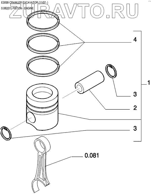
| 1 | 8093880 | KIT, PISTON & RINGS, (STD) | Нет в продаже |
|
| 1 | 8094556 | KIT, PISTON & RINGS, (+0,4) | Нет в продаже |
|
| 2 | 4892712 | PIN, PISTON | Нет в продаже |
|
| 3 | 2854030 | RING, SNAP | Нет в продаже |
|
| 4 | 8093881 | KIT, PISTON RINGS, (STD) Includes (1 ea) 2852036 Wear Ring, 2830158 Piston Ring, 2852037 Oil Scraper Ring | Нет в продаже |
|
| 4 | 8093949 | SET, PISTON RINGS + 0.4 | Нет в продаже |
|
1
1
2
3
3
4
4
Содержащиеся в справочниках-каталогах запасные части и детали носят исключительно информационный характер