Оригинальные каталоги
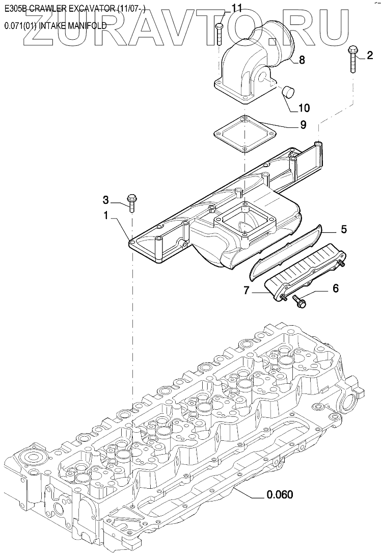
| № | Номер | Наименование | Цена | |
|---|---|---|---|---|
| 1 | 2854534 | MANIFOLD, INLET | Нет в продаже |
|
| 2 | 4895432 | SCREW | Нет в продаже |
|
| 3 | 4899039 | SCREW, Hex Flg, M8x1.25x25 | Нет в продаже |
|
| 5 | 2854701 | GASKET | Нет в продаже |
|
| 6 | 2852101 | SCREW | Нет в продаже |
|
| 7 | 2855345 | COVER | Нет в продаже |
|
| 8 | 4895424 | MANIFOLD, INLET | Нет в продаже |
|
| 9 | 4899921 | GASKET | Нет в продаже |
|
| 10 | 4893036 | PLUG, IN ALTERNATIVE | Нет в продаже |
|
| 11 | 2852212 | SCREW, IN ALTERNATIVE | Нет в продаже |
|
1
2
3
5
6
7
8
9
10
11
Содержащиеся в справочниках-каталогах запасные части и детали носят исключительно информационный характер