Оригинальные каталоги
| № | Номер | Наименование | Цена | |
|---|---|---|---|---|
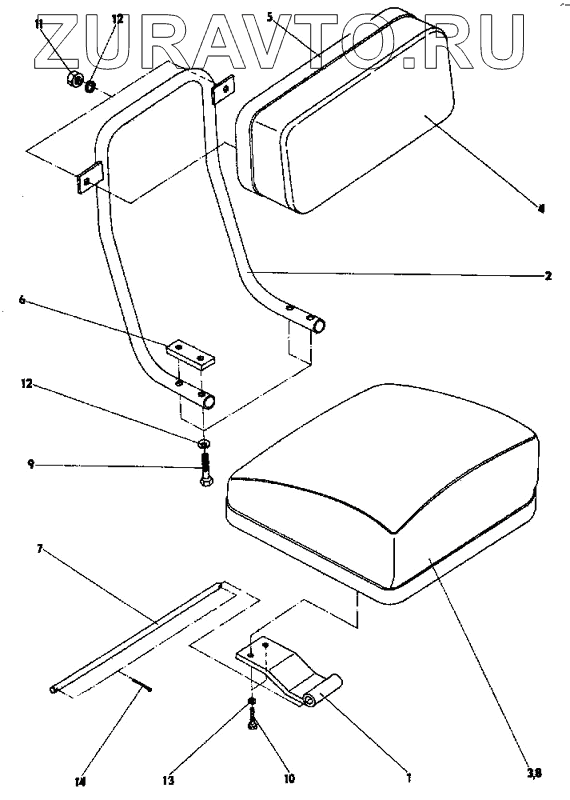
| 533 934 225 416 | 533 934 225 416 | Сидение | Нет в продаже |
|
| 533-9-34-72-190-1 | 533-9-34-72-190-1 | Сидение | Нет в продаже |
|
| 1 | 533 934 225 516 | Держатель | Нет в продаже |
|
| 1 | 533-9-34-72-191-1 | Держатель | Нет в продаже |
|
| 2 | 533-9-34-72-195-1 | Опора | Нет в продаже |
|
| 2 | 533 934 225 816 | Опора | Нет в продаже |
|
| 3 | 531-9-8034-500-90 | Подушка | Нет в продаже |
|
| 4 | 1-80-345-049 | Спинка | Нет в продаже |
|
| 5 | 533-0-05-30-244-2 | Крышка | Нет в продаже |
|
| 6 | 533-0-34-72-203-1 | Шайба | Нет в продаже |
|
| 6 | 533 034 226 116 | Шайба | Нет в продаже |
|
| 7 | 533 034 226 216 | Ось | Нет в продаже |
|
| 7 | 533-0-34-72-204-1 | Ось | Нет в продаже |
|
| 8 | 533 034 226 316 | Куб | Нет в продаже |
|
| 8 | 533-0-34-72-205-1 | Куб | Нет в продаже |
|
| 9 | CSN 02 1103.25 | Болт M6x16 | Нет в продаже |
|
| 10 | CSN 02 1103.25 | Болт M6x16 | Нет в продаже |
|
| 11 | CSN 02 1401.15 | Гайка M8 | Нет в продаже |
|
| 12 | CSN 02 1740.05 | Шайба 4 | Нет в продаже |
|
| 13 | CSN 02 1401.15 | Гайка M8 | Нет в продаже |
|
| 14 | CSN 02 1781.05 | Шплинт 3,2x20 | Нет в продаже |
|
533 934 225 416
533-9-34-72-190-1
1
1
2
2
3
4
5
6
6
7
7
8
8
9
10
11
12
12
13
14
Содержащиеся в справочниках-каталогах запасные части и детали носят исключительно информационный характер