Оригинальные каталоги
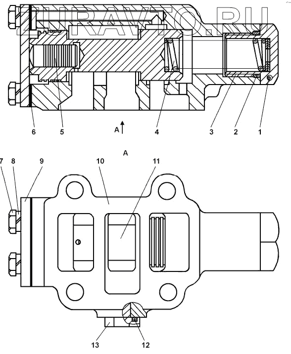
| № | Номер | Наименование | Цена | |
|---|---|---|---|---|
| 1 | 31 5180 | Шайба | Нет в продаже |
|
| 1 | 31 5180-01 | Шайба | Нет в продаже |
|
| 2 | 026-032-36-2-51-1668 | Кольцо ГОСТ 18829-73/ТУ 38.005.204-84 | Нет в продаже |
|
| 3 | 2501-15-127 | Пробка | Нет в продаже |
|
| 4 | 38 5487-01 | Пружина | Нет в продаже |
|
| 5 | 47-15-19 | Клапан | Нет в продаже |
|
| 6 | 45 0161 | Прокладка | Нет в продаже |
|
| 7 | Болт М8-6gx20 | Болт М8-6gx20 | Нет в продаже |
|
| 8 | Шайба 8Т | Шайба 8Т | Нет в продаже |
|
| 9 | 405-15-35 | Крышка | Нет в продаже |
|
| 10 | 2501-15-122 | Корпус | Нет в продаже |
|
| 10 | 2501-15-122-20 | Корпус | Нет в продаже |
|
| 11 | 2501-15-125 | Золотник | Нет в продаже |
|
| 12 | 018-022-25-2-51-1668 | Кольцо ГОСТ 9833-73/ТУ 38.005.204-84 | Нет в продаже |
|
| 13 | 37 5331 | Пробка | Нет в продаже |
|
| 13 | 37 5331-20 | Пробка | Нет в продаже |
|
1
1
2
3
4
5
6
8
9
10
10
11
12
13
13
Содержащиеся в справочниках-каталогах запасные части и детали носят исключительно информационный характер