Оригинальные каталоги
| № | Номер | Наименование | Цена | |
|---|---|---|---|---|
| 2601-15-11СП(SP) | 2601-15-11СП(SP) | Датчик давления | Нет в продаже |
|
| 2601-15-11-20СП(SP) | 2601-15-11-20СП(SP) | Датчик давления | Нет в продаже |
|
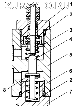
| 1 | 3501-15-16СП(SP) | Пробка | Нет в продаже |
|
| 2 | 024-028-25-2-51-1668 | Кольцо 024-028-25-2-51-1668 | Нет в продаже |
|
| 3 | 700-38-2280 | Пружина | Нет в продаже |
|
| 4 | 2601-15-18 | Золотник | Нет в продаже |
|
| 5 | 2601-15-17 | Корпус | Нет в продаже |
|
| 6 | 700-38-2095 | Пружина | Нет в продаже |
|
| 7 | 375780 | Пробка | Нет в продаже |
|
| 8 | 310150 | Шайба 8.01.08кп.019 ГОСТ 11371-78 | Нет в продаже |
|
2601-15-11СП(SP)
2601-15-11-20СП(SP)
1
2
2
3
4
5
6
7
8
Содержащиеся в справочниках-каталогах запасные части и детали носят исключительно информационный характер