Оригинальные каталоги
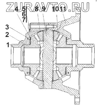
| № | Номер | Наименование | Цена | |
|---|---|---|---|---|
| 2601-17-100СП(SP) | 2601-17-100СП(SP) | Дифференциал | Нет в продаже |
|
| 2601-17-100-20СП(SP) | 2601-17-100-20СП(SP) | Дифференциал | Нет в продаже |
|
| 1 | 2601-17-2 | Корпус | Нет в продаже |
|
| 1 | 2601-17-2-20 | Корпус | Нет в продаже |
|
| 2 | 2601-17-4 | Шестерня | Нет в продаже |
|
| 3 | 325210 | Штифт | Нет в продаже |
|
| 4 | 2601-17-6 | Шайба | Нет в продаже |
|
| 5 | 280576 | Болт | Нет в продаже |
|
| 6 | 315271 | Шайба | Нет в продаже |
|
| 7 | ГОСТ3282-74 | Проволока | Нет в продаже |
|
| 8 | 2601-17-7 | Шайба | Нет в продаже |
|
| 9 | 2601-17-5 | Крестовина | Нет в продаже |
|
| 10 | 2601-17-103СП(SP) | Сателлит | Нет в продаже |
|
| 11 | 2601-17-1 | Корпус | Нет в продаже |
|
| 11 | 2601-17-1-20 | Корпус | Нет в продаже |
|
2601-17-100СП(SP)
2601-17-100-20СП(SP)
1
1
2
3
4
5
6
7
8
9
10
11
11
Содержащиеся в справочниках-каталогах запасные части и детали носят исключительно информационный характер