Оригинальные каталоги
| № | Номер | Наименование | Цена | |
|---|---|---|---|---|
| 412701-95-2СП(SP) | 412701-95-2СП(SP) | Гидрозамедлитель | Нет в продаже |
|
| 412701-95-2-20СП(SP) | 412701-95-2-20СП(SP) | Гидрозамедлитель | Нет в продаже |
|
| 412701-95-2-01СП(SP) | 412701-95-2-01СП(SP) | Гидрозамедлитель | Нет в продаже |
|
| 412701-95-2-01-20СП-20SP | 412701-95-2-01-20СП-20SP | Гидрозамедлитель | Нет в продаже |
|
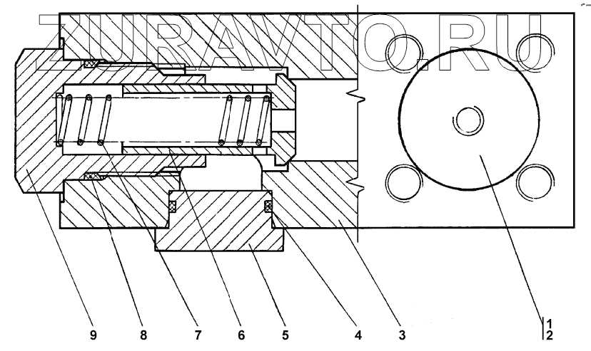
| 1 | 25-26-207 | Заглушка | Нет в продаже |
|
| 1 | 25-26-207-20 | Заглушка | Нет в продаже |
|
| 2 | 042-050-46-2-51-1668 | Кольцо ГОСТ 18829-73/ТУ 38.005.204-84 | Нет в продаже |
|
| 3 | 412701-95-80-01 | Корпус | Нет в продаже |
|
| 3 | 412701-95-80 | Корпус | Нет в продаже |
|
| 4 | 039-045-36-2-51-1668 | Кольцо ГОСТ 18829-73/ТУ 38.005.204-84 | Нет в продаже |
|
| 5 | 312501-26-137 | Заглушка | Нет в продаже |
|
| 6 | 412701-95-82 | Клапан | Нет в продаже |
|
| 7 | 385221 | Пружина | Нет в продаже |
|
| 8 | ТУ2531-260-00149245-00 | Кольцо | Нет в продаже |
|
| 9 | 3501-26-157 | Пробка | Нет в продаже |
|
| 9 | 3501-26-157-20 | Пробка | Нет в продаже |
|
412701-95-2СП(SP)
412701-95-2-20СП(SP)
412701-95-2-01СП(SP)
412701-95-2-01-20СП-20SP
1
1
2
3
3
4
5
6
7
8
9
9
Содержащиеся в справочниках-каталогах запасные части и детали носят исключительно информационный характер