Оригинальные каталоги
| № | Номер | Наименование | Цена | |
|---|---|---|---|---|
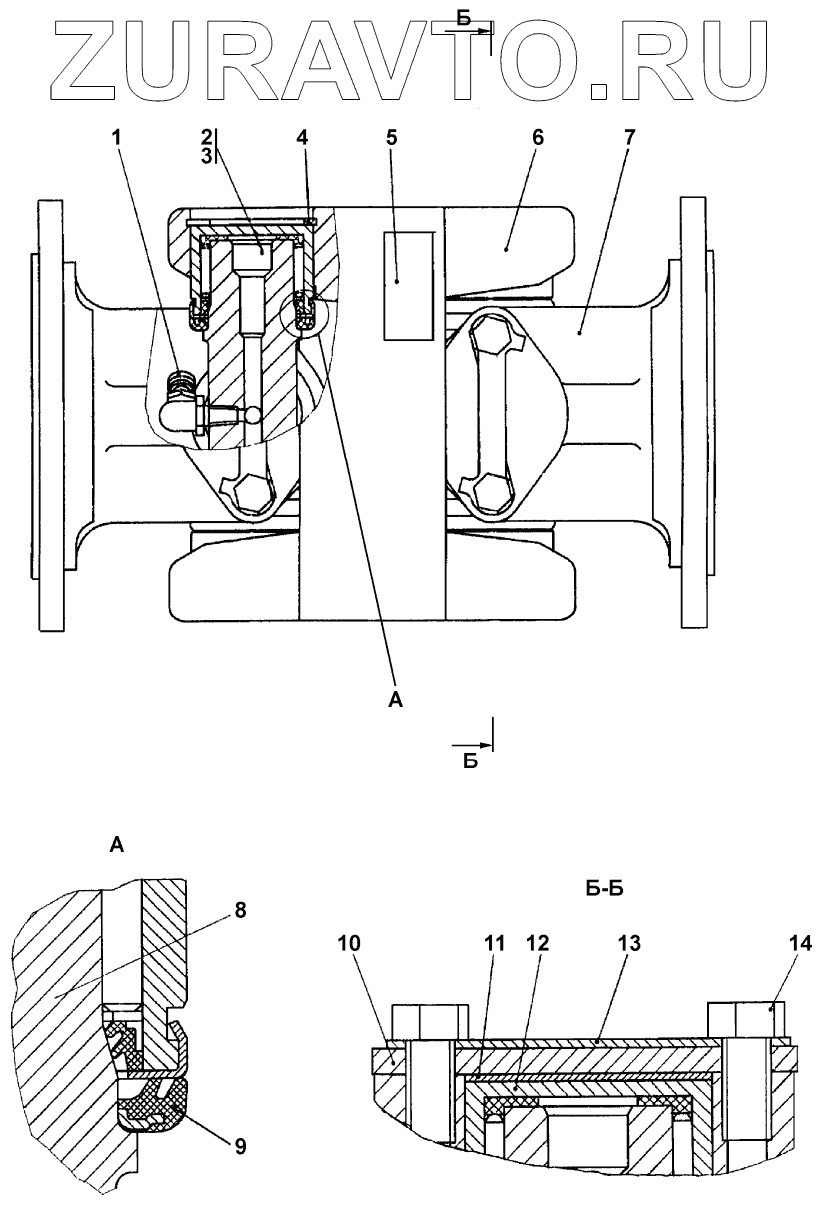
| ПК-53372-2218010 | ПК-53372-2218010 | Вал карданный | Нет в продаже |
|
| 1 | 24-2904142 | Колпачок пресс-масленки | Нет в продаже |
|
| 2 | ТУ38.301-40-25-94 | Смазка | Нет в продаже |
|
| 3 | ТУBY100029077.005-2006 | Смазка | Нет в продаже |
|
| 4 | 7555-2205040Н | Кольцо стопорное | Нет в продаже |
|
| 5 | ПК-53372-2218017 | Этикетка самоклеящаяся | Нет в продаже |
|
| 6 | 53371-2218012-10 | Вилка | Нет в продаже |
|
| 7 | 64221-2201049 | Фланец-вилка | Нет в продаже |
|
| 8 | 53205-2205026-10 | Крестовина | Нет в продаже |
|
| 9 | 53205-2205036 | Уплотнение торцовое | Нет в продаже |
|
| 10 | 6422-2201040-10 | Крышка подшипника | Нет в продаже |
|
| 11 | 6422-2505080 | Прокладка регулировочная | Нет в продаже |
|
| 12 | 804710АС10 | Подшипник | Нет в продаже |
|
| 13 | 6422-2201041 | Пластина | Нет в продаже |
|
| 14 | 201454 | Болт | Нет в продаже |
|
ПК-53372-2218010
1
2
3
4
5
6
7
8
9
10
11
12
13
14
Содержащиеся в справочниках-каталогах запасные части и детали носят исключительно информационный характер