Оригинальные каталоги
| № | Номер | Наименование | Цена | |
|---|---|---|---|---|
| 1102-20-101СП | 1102-20-101СП | Муфта упругая | Нет в продаже |
|
| 1102-20-101-20СП | 1102-20-101-20СП | Муфта упругая | Нет в продаже |
|
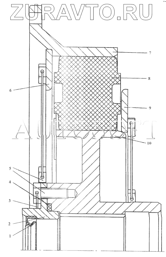
| 1 | Манжета 1.2-45-65-3 | Манжета 1.2-45-65-3 | Нет в продаже |
|
| 2 | 1102-20-3 | Крышка | Нет в продаже |
|
| 3 | Проволока 1,6-0-С | Проволока 1,6-0-С | Нет в продаже |
|
| 4 | Кольцо 080-090-58-2-51-1668 | Кольцо 080-090-58-2-51-1668 | Нет в продаже |
|
| 5 | 280231-20 | Болт 3М10-6gх25 | Нет в продаже |
|
| 5 | 280231 | Болт 3М10х25 | Нет в продаже |
|
| 6 | 1102-20-9 | Стопор | Нет в продаже |
|
| 7 | 1102-20-7 | Муфта | Нет в продаже |
|
| 8 | 400462 | Втулка | Нет в продаже |
|
| 9 | 1102-20-10 | Стопор | Нет в продаже |
|
| 10 | 1102-20-8 | Ступица | Нет в продаже |
|
1
2
3
4
5
5
6
7
8
9
10
Содержащиеся в справочниках-каталогах запасные части и детали носят исключительно информационный характер