Оригинальные каталоги
| № | Номер | Наименование | Цена | |
|---|---|---|---|---|
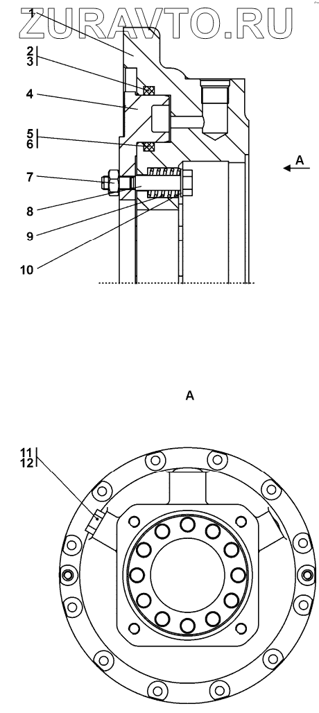
| 1501-96-100СП(SP) | 1501-96-100СП(SP) | Бустер | Нет в продаже |
|
| 1 | 1501-96-6 | Корпус | Нет в продаже |
|
| 2 | QRAR04451-№7004 | Кольцо уплотнительное | Нет в продаже |
|
| 3 | QRAR04451-№8004 | Кольцо уплотнительное | Нет в продаже |
|
| 4 | 1501-96-7 | Поршень | Нет в продаже |
|
| 5 | QRAR04444-№7004 | Кольцо уплотнительное | Нет в продаже |
|
| 6 | QRAR04444-№8004 | Кольцо уплотнительное | Нет в продаже |
|
| 7 | 305186 | Гайка М10х1,25-6Н | Нет в продаже |
|
| 8 | 1501-96-43 | Болт специальный | Нет в продаже |
|
| 9 | 385325 | Пружина | Нет в продаже |
|
| 10 | 310170 | Шайба 10.01.10.019 ГОСТ 11371-78 | Нет в продаже |
|
| 11 | 375331 | Пробка | Нет в продаже |
|
| 12 | 018-023-25-2-51-1668 | Кольцо | Нет в продаже |
|
1501-96-100СП(SP)
1
2
3
4
5
6
7
8
9
10
11
12
Содержащиеся в справочниках-каталогах запасные части и детали носят исключительно информационный характер