Оригинальные каталоги
| № | Номер | Наименование | Цена | |
|---|---|---|---|---|
| 1101-21-38СП(SP) | 1101-21-38СП(SP) | Шарнир | Нет в продаже |
|
| 1101-21-38-20СП(SP) | 1101-21-38-20СП(SP) | Шарнир | Нет в продаже |
|
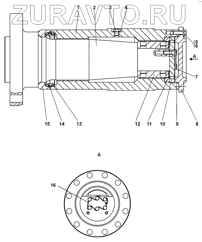
| 1 | 1101-21-119СП(SP) | Корпус | Нет в продаже |
|
| 2 | 1101-21-200 | Ось | Нет в продаже |
|
| 3 | 375515-20 | Пробка | Нет в продаже |
|
| 3 | 375515 | Пробка | Нет в продаже |
|
| 4 | 700-40-260-11 | Прокладка | Нет в продаже |
|
| 5 | ГОСТ7796-70 | Болт | Нет в продаже |
|
| 6 | ГОСТ6402-70 | Шайба | Нет в продаже |
|
| 7 | 280351-20 | Болт 3М12-6gх40 | Нет в продаже |
|
| 7 | 280351 | Болт 3М12-6gх40 | Нет в продаже |
|
| 8 | 1501-21-152 | Крышка | Нет в продаже |
|
| 9 | Кольцо160-165-36-2-51-1668 | Кольцо | Нет в продаже |
|
| 10 | 1501-21-157 | Фланец | Нет в продаже |
|
| 11 | 1501-21-156 | Кольцо | Нет в продаже |
|
| 12 | 1101-21-205 | Вкладыш | Нет в продаже |
|
| 13 | 400323 | Кольцо упругое | Нет в продаже |
|
| 14 | 1501-21-158 | Кольцо уплотнительное | Нет в продаже |
|
| 15 | 1501-21-153 | Корпус уплотнения | Нет в продаже |
|
| 16 | ПроволокаКС-1,6 | Проволока | Нет в продаже |
|
1101-21-38СП(SP)
1101-21-38-20СП(SP)
1
2
3
3
4
5
6
7
7
8
9
10
11
12
13
14
15
16
Содержащиеся в справочниках-каталогах запасные части и детали носят исключительно информационный характер