Оригинальные каталоги
| № | Номер | Наименование | Цена | |
|---|---|---|---|---|
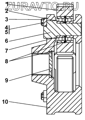
| 1501-96-101СП(SP) | 1501-96-101СП(SP) | Водило | Нет в продаже |
|
| 1 | 1501-96-36 | Сателлит | Нет в продаже |
|
| 2 | 1501-96-70 | Кольцо распорное | Нет в продаже |
|
| 3 | 1501-96-63 | Планка | Нет в продаже |
|
| 4 | 285120 | Болт (476715722810) | Нет в продаже |
|
| 5 | 1501-96-37 | Ось | Нет в продаже |
|
| 6 | 42205 | Подшипник 42205 | Нет в продаже |
|
| 7 | 580515 | Кольцо С52 ГОСТ 13943-86 | Нет в продаже |
|
| 8 | 1501-96-64 | Упор | Нет в продаже |
|
| 9 | 1501-96-35 | Водило | Нет в продаже |
|
1501-96-101СП(SP)
1
2
3
4
5
6
7
8
9
9
Содержащиеся в справочниках-каталогах запасные части и детали носят исключительно информационный характер