Оригинальные каталоги
| № | Номер | Наименование | Цена | |
|---|---|---|---|---|
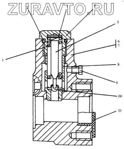
| 2501-15-142СП | 2501-15-142СП | Клапан | Нет в продаже |
|
| 1 | 700-38-2646 | Пружина | Нет в продаже |
|
| 2 | Кольцо 026-032-36-51-1668 | Кольцо 026-032-36-51-1668 | Нет в продаже |
|
| 3 | 310120 | Шайба 6.01.08кп.019 ГОСТ 6958-78 | Нет в продаже |
|
| 4 | 2501-15-193 | Пробка | Нет в продаже |
|
| 5 | 2501-15-191 | Клапан | Нет в продаже |
|
| 6 | 2501-15-190СП | Корпус | Нет в продаже |
|
| 7 | 2501-15-194 | Корпус | Нет в продаже |
|
| 8 | 2501-15-192 | Седло | Нет в продаже |
|
| 9 | 370140-08 | Пробка КГ 1/8" 20.089 ТУ 23.1.506-91 | Нет в продаже |
|
| 10 | Шарик Б12-100 | Шарик Б12-100 | Нет в продаже |
|
| 11 | 3501-26-242 | Заглушка | Нет в продаже |
|
| 26 | Шплинт 3,2х25.019 ГОСТ 397-79 | Шплинт 3,2х25.019 ГОСТ 397-79 | Нет в продаже |
|
1
2
3
4
5
6
7
8
9
10
11
26
Содержащиеся в справочниках-каталогах запасные части и детали носят исключительно информационный характер