Оригинальные каталоги
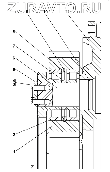
| № | Номер | Наименование | Цена | |
|---|---|---|---|---|
| 1 | 2001-19-10 | Сателлит | Нет в продаже |
|
| 2 | 42311КМ | Подшипник 42311КМ | Нет в продаже |
|
| 3 | Проволока1,6-О-С | Проволока 1,6-О-С | Нет в продаже |
|
| 4 | 285330 | Болт | Нет в продаже |
|
| 5 | 2001-19-19 | Шайба | Нет в продаже |
|
| 6 | 2001-19-13 | Ось | Нет в продаже |
|
| 7 | 2001-19-18 | Втулка | Нет в продаже |
|
| 8 | 2001-19-20 | Кольцо | Нет в продаже |
|
| 9 | 700-58-2092 | Кольцо С120 ГОСТ 13941-86 | Нет в продаже |
|
| 10 | Кольцо066-071-30-2-51-1668 | Кольцо 066-071-30-2-51-1668 | Нет в продаже |
|
| 11 | 2001-19-5 | Водило | Нет в продаже |
|
| 11 | 2001-19-5-20 | Водило | Нет в продаже |
|
1
2
3
4
5
6
7
8
9
10
11
11
Содержащиеся в справочниках-каталогах запасные части и детали носят исключительно информационный характер