Оригинальные каталоги
| № | Номер | Наименование | Цена | |
|---|---|---|---|---|
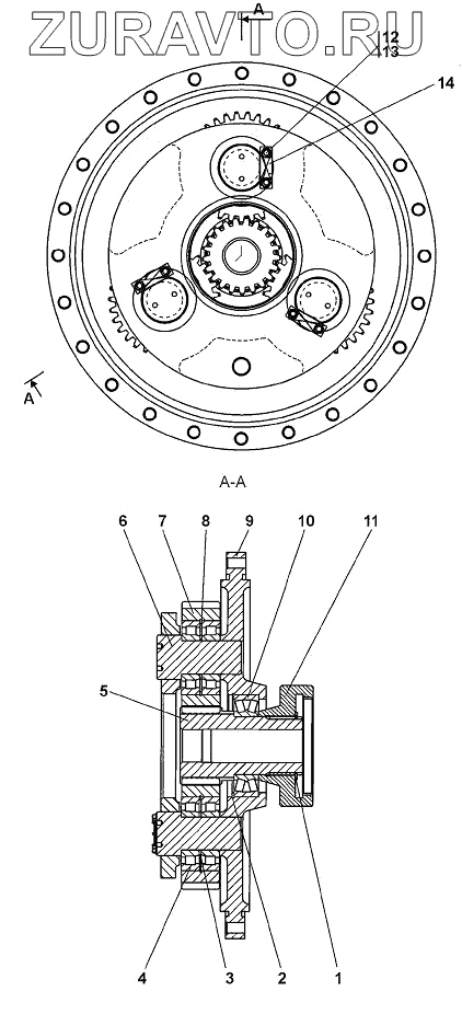
| 0901-96-106СП(SP) | 0901-96-106СП(SP) | Редуктор планетарный | Нет в продаже |
|
| 0901-96-106-20СП(SP) | 0901-96-106-20СП(SP) | Редуктор планетарный | Нет в продаже |
|
| 1 | 700-58-2122 | Кольцо С80 ГОСТ 13940-86 | Нет в продаже |
|
| 2 | 58 0836 | Кольцо С140 | Нет в продаже |
|
| 3 | 3501-96-140-01 | Кольцо распорное | Нет в продаже |
|
| 4 | Подшипник 42309 | Подшипник 42309 | Нет в продаже |
|
| 5 | 0901-96-26 | Вал-шестерня | Нет в продаже |
|
| 6 | 0901-96-30 | Ось | Нет в продаже |
|
| 7 | 0901-96-27 | Сателлит | Нет в продаже |
|
| 8 | 58 0765 | Кольцо С100 | Нет в продаже |
|
| 9 | 0901-96-65 | Водило | Нет в продаже |
|
| 10 | Подшипник 3516 | Подшипник 3516 | Нет в продаже |
|
| 11 | 0901-96-9 | Муфта | Нет в продаже |
|
| 12 | 28 5120 | Болт | Нет в продаже |
|
| 13 | Проволока 1,6-0-С | Проволока 1,6-0-С | Нет в продаже |
|
| 14 | 3501-96-137 | Планка | Нет в продаже |
|
0901-96-106СП(SP)
0901-96-106-20СП(SP)
1
2
3
4
5
6
7
8
9
10
11
12
13
14
Содержащиеся в справочниках-каталогах запасные части и детали носят исключительно информационный характер