Оригинальные каталоги
| № | Номер | Наименование | Цена | |
|---|---|---|---|---|
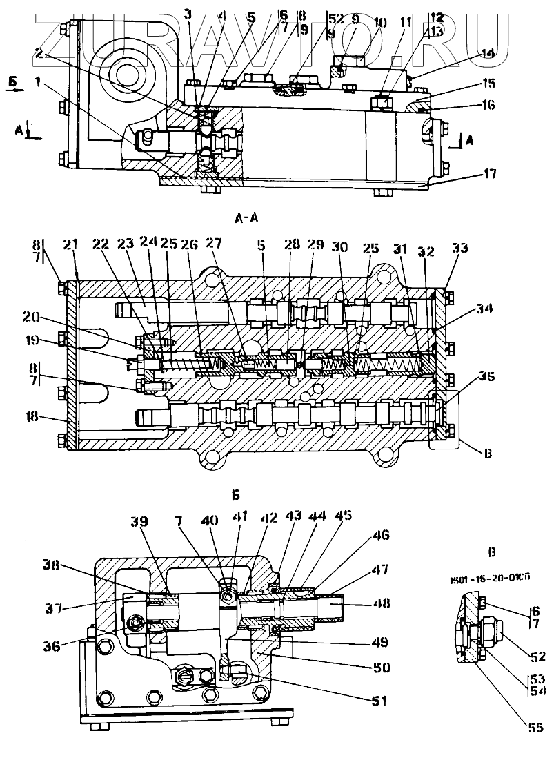
| 1501-15-20-01СП | 1501-15-20-01СП | Блок управления | Нет в продаже |
|
| 1501-15-20-01-20СП | 1501-15-20-01-20СП | Блок управления | Нет в продаже |
|
| 1 | 450291 | Прокладка | Нет в продаже |
|
| 2 | 1501-15-12 | Фиксатор | Нет в продаже |
|
| 3 | 1501-15-11 | Корпус фиксатора | Нет в продаже |
|
| 4 | 014-018-25-2-51-1668 | Кольцо 014-018-25-2-51-1668 | Нет в продаже |
|
| 5 | 385092 | Пружина | Нет в продаже |
|
| 6 | БолтМ8-6gх30 | Болт М8-6gх30 | Нет в продаже |
|
| 7 | Шайба8Т | Шайба 8Т | Нет в продаже |
|
| 8 | 375330 | Пробка | Нет в продаже |
|
| 8 | БолтМ8-6gх25 | Болт М8-6gх25 | Нет в продаже |
|
| 9 | 018-022-25-2-51-1668 | Кольцо | Нет в продаже |
|
| 10 | 1501-15-130СП | Дроссель | Нет в продаже |
|
| 11 | 280388 | Болт М12-6gх90.109.40Х.019 ГОСТ 7795-70 | Нет в продаже |
|
| 11 | 280388-20 | Болт М12-6gх90.109.40Х029 ГОСТ 7795-70 | Нет в продаже |
|
| 12 | ГайкаМ12 | Гайка М12 | Нет в продаже |
|
| 13 | Шайба12 | Шайба 12 | Нет в продаже |
|
| 14 | 370140-08 | Пробка КГ 1/8" 20.069 | Нет в продаже |
|
| 15 | 1501-15-2 | Крышка | Нет в продаже |
|
| 16 | 190-195-36-2-51-1668 | Кольцо | Нет в продаже |
|
| 17 | 1501-15-23 | Крышка | Нет в продаже |
|
| 18 | 1501-15-21 | Крышка | Нет в продаже |
|
| 19 | 300220 | Гайка М12х1,25-6Н.04.019 ГОСТ 15522-70 | Нет в продаже |
|
| 20 | 1501-15-25 | Планка | Нет в продаже |
|
| 21 | 450287 | Прокладка | Нет в продаже |
|
| 21 | 450287-20 | Прокладка | Нет в продаже |
|
| 22 | 1501-15-24 | Винт | Нет в продаже |
|
| 23 | 1501-15-4 | Золотник | Нет в продаже |
|
| 24 | 310150 | Шайба 8.01.08кп.019 ГОСТ 11371-78 | Нет в продаже |
|
| 25 | 700-38-2701 | Пружина | Нет в продаже |
|
| 26 | 1501-15-5 | Золотник | Нет в продаже |
|
| 27 | 1501-15-7 | Клапан | Нет в продаже |
|
| 28 | 1501-15-6 | Плунжер | Нет в продаже |
|
| 29 | 1501-15-14 | Стопор | Нет в продаже |
|
| 30 | 1501-15-9 | Золотник | Нет в продаже |
|
| 31 | 310110 | Шайба 6.01.08кп.019 ГОСТ 11371-78 | Нет в продаже |
|
| 32 | 1501-15-65 | Поршень | Нет в продаже |
|
| 33 | 1501-15-20 | Крышка | Нет в продаже |
|
| 34 | 038-046-46-2-51-1668 | Кольцо 038-046-46-2-51-1668 | Нет в продаже |
|
| 35 | 1501-15-3 | Золотник | Нет в продаже |
|
| 36 | 941/15 | Подшипник 941/15 | Нет в продаже |
|
| 37 | 1501-15-19 | Рычаг | Нет в продаже |
|
| 38 | 941/30 | Подшипник 941/30 | Нет в продаже |
|
| 39 | 1501-15-17 | Втулка | Нет в продаже |
|
| 40 | ГайкаМ8 | Гайка | Нет в продаже |
|
| 41 | 312501-91-145 | Клин | Нет в продаже |
|
| 42 | 1501-15-17-01 | Втулка | Нет в продаже |
|
| 43 | Манжета2.2-30х52-3 | Манжета 2.2-30х52-3 | Нет в продаже |
|
| 44 | 016-020-25-2-51-1668 | Кольцо ГОСТ 9833-73/ГОСТ 18829-73 | Нет в продаже |
|
| 45 | 2501-15-152 | Труба | Нет в продаже |
|
| 46 | 1501-15-15 | Валик | Нет в продаже |
|
| 47 | 2501-15-152-01 | Труба | Нет в продаже |
|
| 48 | 1501-15-16 | Валик | Нет в продаже |
|
| 49 | 1501-15-18 | Рычаг | Нет в продаже |
|
| 50 | 1501-15-1 | Корпус | Нет в продаже |
|
| 50 | 1501-15-1-20 | Корпус | Нет в продаже |
|
| 51 | 1501-15-22 | Палец | Нет в продаже |
|
| 52 | ВК418А-3716000 | Выключатель ВК418А-3716000 | Нет в продаже |
|
| 52 | ВК418А-3716000Т | Выключатель ВК418А-3716000Т | Нет в продаже |
|
| 52 | 1501-15-48 | Болт специальный | Нет в продаже |
|
| 53 | 2391722091 | Прокладка регулировочная | Нет в продаже |
|
| 54 | 312333-П | Прокладка 16х2 | Нет в продаже |
|
| 55 | 1501-15-47 | Крышка | Нет в продаже |
|
1501-15-20-01СП
1501-15-20-01-20СП
1
2
3
4
5
5
6
6
7
7
7
7
7
8
8
8
8
9
9
9
10
11
11
12
13
14
15
16
17
18
19
20
21
21
22
23
24
25
25
26
27
28
29
30
31
32
33
34
35
36
37
38
39
40
41
42
43
44
45
46
47
48
49
50
50
51
52
52
52
52
53
54
55
Содержащиеся в справочниках-каталогах запасные части и детали носят исключительно информационный характер