Оригинальные каталоги
| № | Номер | Наименование | Цена | |
|---|---|---|---|---|
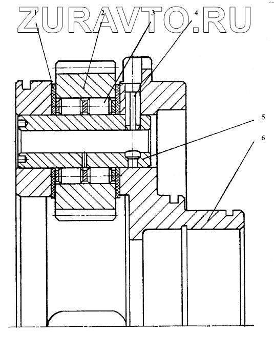
| 2001-12-103СП | 2001-12-103СП | Водило | Нет в продаже |
|
| 1 | 2001-12-27 | Кольцо упорное | Нет в продаже |
|
| 2 | 2001-12-26 | Сателлит | Нет в продаже |
|
| 3 | 6-252807Д | Подшипник 6-252807Д | Нет в продаже |
|
| 4 | 2001-12-111СП | Штифт | Нет в продаже |
|
| 5 | 2001-12-30 | Ось | Нет в продаже |
|
| 6 | 2001-12-9 | Водило | Нет в продаже |
|
2001-12-103СП
1
2
3
4
5
6
Содержащиеся в справочниках-каталогах запасные части и детали носят исключительно информационный характер