Оригинальные каталоги
| № | Номер | Наименование | Цена | |
|---|---|---|---|---|
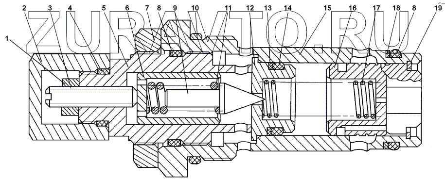
| 2601-28-21СП(SP) | 2601-28-21СП(SP) | Клапан | Нет в продаже |
|
| 1 | Гайка М8 | Гайка М8 | Нет в продаже |
|
| 2 | 2601-28-209 | Заглушка | Нет в продаже |
|
| 3 | 2601-28-212 | Винт | Нет в продаже |
|
| 4 | 018-022-25-2-51-1668 | Кольцо ГОСТ 9833-73/ТУ 38.005.204-84 | Нет в продаже |
|
| 5 | 312501-91-147 | Штуцер | Нет в продаже |
|
| 6 | 2601-28-210 | Стакан | Нет в продаже |
|
| 7 | 30 5430 | Гайка | Нет в продаже |
|
| 8 | 032-038-36-2-51-1668 | Кольцо ГОСТ 18829-73/ТУ 38.005.204-84 | Нет в продаже |
|
| 9 | 1501-15-46 | Клапан | Нет в продаже |
|
| 10 | 045-050-30-2-51-1668 | Кольцо ГОСТ 9833-73/ГОСТ 18829-73 | Нет в продаже |
|
| 11 | 38 5420 | Пружина | Нет в продаже |
|
| 12 | 2601-28-207 | Поршень | Нет в продаже |
|
| 13 | 2601-28-214 | Шайба защитная | Нет в продаже |
|
| 14 | 022-028-36-2-51-1668 | Кольцо 022-028-36-2-51-1668 | Нет в продаже |
|
| 15 | 2601-28-205 | Корпус | Нет в продаже |
|
| 16 | 2601-28-208 | Клапан | Нет в продаже |
|
| 17 | 700-38-2517 | Пружина | Нет в продаже |
|
| 18 | 44 0038 | Кольцо защитное | Нет в продаже |
|
| 19 | 58 0272 | Кольцо С28 ГОСТ 13941-86 | Нет в продаже |
|
1
2
3
4
5
6
7
8
8
9
10
11
12
13
14
15
16
17
18
19
Содержащиеся в справочниках-каталогах запасные части и детали носят исключительно информационный характер