Назад

Оригинальные каталоги

zoom-in zoom-out enlarge shrink circle-right circle-left file-text2 info cart
Номер Наименование Цена
312001-94-27СП(SP) 312001-94-27СП(SP) Клапан Нет в продаже
312001-94-27-20СП -20(SP) 312001-94-27-20СП -20(SP) Клапан Нет в продаже
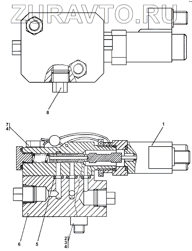
1 3501-26-65СП(SP) Пилот управления Нет в продаже
1 3501-26-65-20СП(SP) Пилот управления Нет в продаже
2 28 2388-20 Болт М12х1,25-6gх95 Нет в продаже
2 28 2388 Болт М12х1,25-6gх95 Нет в продаже
3 30 0215-01-20 Гайка М12x1,25 Нет в продаже
3 30 0215-01 Гайка М12x1,25 Нет в продаже
4 Шайба 12 ОТ Шайба 12 ОТ Нет в продаже
5 007-011-25-2-51-1668 Кольцо ГОСТ 18829-73/ТУ 38.005.204-84 Нет в продаже
6 0602-26-13 Корпус Нет в продаже
7 28 0360-20 Болт М12х1,25-6gх45 Нет в продаже
7 28 0360 Болт М12х1,25-6gх45 Нет в продаже
8 44 0057-20 Заглушка Нет в продаже
8 44 0057 Заглушка Нет в продаже
1
1
2
2
3
3
4
4
5
6
7
7
8
8
100%
Содержащиеся в справочниках-каталогах запасные части и детали носят исключительно информационный характер