Оригинальные каталоги
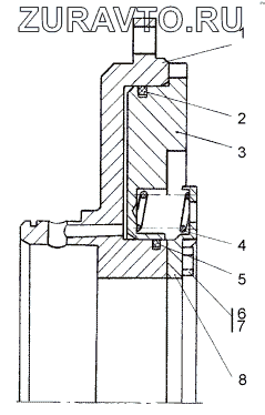
| № | Номер | Наименование | Цена | |
|---|---|---|---|---|
| 312501-90-10СП(SP) | 312501-90-10СП(SP) | Бустер | Нет в продаже |
|
| 1 | 312501-90-104 | Бустер | Нет в продаже |
|
| 2 | 2501-12-181-04 | Кольцо уплотнительное | Нет в продаже |
|
| 3 | 312501-90-105 | Поршень | Нет в продаже |
|
| 4 | 38 5482 | Пружина | Нет в продаже |
|
| 5 | 2501-12-181 | Кольцо уплотнительное | Нет в продаже |
|
| 6 | 28 5130 | Болт | Нет в продаже |
|
| 7 | Проволока КС-1,6 | Проволока КС-1,6 | Нет в продаже |
|
| 8 | 312501-90-106 | Тарелка | Нет в продаже |
|
1
2
3
4
5
6
7
8
Содержащиеся в справочниках-каталогах запасные части и детали носят исключительно информационный характер