Оригинальные каталоги
| № | Номер | Наименование | Цена | |
|---|---|---|---|---|
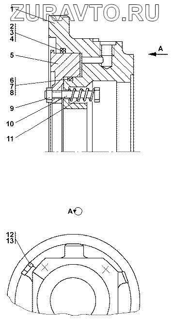
| 3501-96-100СП(SP) | 3501-96-100СП(SP) | Бустер | Нет в продаже |
|
| 1 | 3501-96-105 | Корпус | Нет в продаже |
|
| 2 | ORAR 04451-N 7004 | Кольцо уплотнительное ORAR 04451-N 7004 | Нет в продаже |
|
| 3 | ORAR 04451-N 8004 | Кольцо уплотнительное ORAR 04451-N 8004 | Нет в продаже |
|
| 4 | 400473-03 | Кольцо уплотнительное | Нет в продаже |
|
| 5 | 3501-96-130 | Поршень | Нет в продаже |
|
| 6 | ORAR 04444-N 7004 | Кольцо уплотнительное ORAR 04444-N 7004 | Нет в продаже |
|
| 7 | ORAR 04444-N 8004 | Кольцо уплотнительное ORAR 04444-N 8004 | Нет в продаже |
|
| 8 | 400473 | Кольцо уплотнительное | Нет в продаже |
|
| 9 | 305186 | Гайка М10х1,25-6Н | Нет в продаже |
|
| 10 | 3501-96-135 | Стяжка | Нет в продаже |
|
| 11 | 385479 | Пружина | Нет в продаже |
|
| 12 | 375331 | Пробка | Нет в продаже |
|
| 13 | 018-022-25-2-51-1668 | Кольцо ГОСТ 9833-73/ТУ 38.005.204-84 | Нет в продаже |
|
1
2
3
4
5
6
7
8
9
10
11
12
13
Содержащиеся в справочниках-каталогах запасные части и детали носят исключительно информационный характер